一、特性及應用
誘導風機是無風道射流誘導通風系統的一部分,它與送風風機、排風機組成整個系統。其原理是由經系統設計、適當布置的多臺誘導風機噴嘴射出的高速氣流、誘導室外的新鮮空氣或經過處理的空氣,在無風管的條件下將其送到所要求的區域,實現較佳的室內氣流組織,以達到高效經濟的通風換氣首顆。使用無管射流誘導通風系統時,可省去設計、制造、安裝風管及其它配套工程方面的費用,這部分費用比使用的誘導風機組昂貴的多,而且以整個層面為通風風道,送風風機、排風風機所需要風壓比使用管道時小的多,這樣就可以選用大風量較低風壓的風機,使所需功率降低,大幅地降低了運行成本的投資費用。當送排風機停止運轉時,誘導風機仍可運轉。起到局部通風換氣的作用。
誘導風機內置高效率離心風機、噪聲低、體積小、重量輕、吊裝方便(立式、 臥式安裝均可)、維護簡單,廣泛配套應用于地下停車場,體育館、車聞、倉庫、商場、超市、娛樂場等大面積場合的通風。
YDF-I型誘導風機一般用于無風誘導通風機系統,有立、臥式兩用兩種結構形式,電機采用風機專用單相電機。
噴流誘導系統可設計智能系統,在誘導空間內設置空氣質量傳感器,用以探測一氧化碳濃度,通過控制器自動控制誘導風機的開啟與停止(配置智能誘導風機),以實現自動化控制。
二、誘導通風系統與傳統的風管式通風系統相比具有的優點:
1、系統規劃設計簡單,設計變動彈性大,修改容易,布置靈活,噴射方向可能隨時隨地調節;
2、安裝簡便,施工簡單,可安裝在有針對性的位置,消除死角;
3.維護簡單方便。單機維護,不影響整個系統的運行;
4、換氣質量高,誘導系統使用整個空聞空氣完全流通,不留死角,提高了空氣品質;
5、風機由優質冷軋平板制成,外表噴塑,整機美觀大方,與空間裝飾的協調性好。
6、電機采用免維護風機專用電機,內置高效離心風機,噪聲低,葉輪經高精度動平衡校驗,振動小。
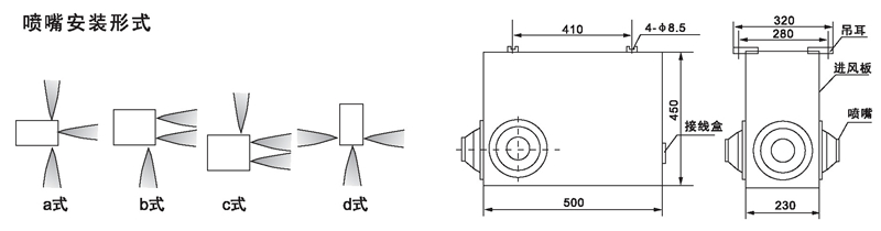
四、外形尺寸及噴嘴安裝形式
(1) YDF-I-6L立體誘 導風機示意圖(萬向球形噴嘴)
球形噴口立式誘導風機由離心式通風機、消聲機箱、三個萬向球形噴嘴組成,回轉角度<60* ,噴口φ80X3;
主要特點:噴口位置增加8個,可任意調整噴口,適應不同的設計和現場實際需要,機組小型化,風機效率提高。
(2) YDF-1-6W1臥式誘導風機示意圖(萬向球形噴嘴)
球形噴口臥式誘導風機由離心式通風機、消聲機箱。三個萬向球形噴嘴組成,回轉角度<60",噴口φ80X3。主要特點:調節靈活方使回轉角大,適用在多種環境安裝,外形美觀大方。
(3) YDF-1-6W2誘導風機示意圖(導管式噴嘴)
導管臥式誘導風機由離心式通風機、消聲機箱、三種以下導管組成?;剞D角度<45*,導管長=400mm,φ80X3.主要特點:氣流導向準確,噴射間距遠,接力傳遞卷吸量大。

(4) YDF-1-6W3誘導風機
可配用萬向球形噴嘴或導管式噴嘴,外形右見圖。

(5) YDF-Z- -2.2誘導風機示意圖
無箱軸流誘導風機由軸流風機、消聲器、噴嘴、固定架組成,回轉角度<60”,噴口φ175。
主要特點:產品類似隧道射流風機、射程更加長遠,適應高大型場所,安裝方便。

五、臥、立式安裝示意圖
誘導風機組是整個送排風系統的一個重要的中間通風銜接環口,進風口、排風口位置,誘導風機的安裝位置十分重要,直接關系到能否形成合理的氣流。理想的布局是讓送排風機在空間上形成主氣流,通過誘導風機的誘導送風,來完成整個空間的送排風。

六、誘導風機數量的計算
所需誘導風機的臺數,在考慮通風方式(機械送排風,自然進風機械排風),有無隔墻,空間形狀的前提下,技每臺誘導風機所要承擔的面積計算,可參照下表確定:

七、可應用場合簡介
1、通風換氣效果比較
下圖為傳統式風管系統與誘導通鳳系統在CO濃度上的比較;
深色區域顯示各不同點的氧化碳濃度,傳統的鳳管通風系統在車子經過的區域,由于僅為局部換氣,CO濃度明顯較高,而誘導通風系統,因是全風量換氣,平均CO依度明顯較低,且高的CO濃度出現在近排風設備處,若加裝CO感測器,因氣流分布均勻,探測效果好,可控制風機的運轉狀態,以節省電力費用。
2、 誘導風機的誘導風量

根據動量定理及射流理論,誘導風機的誘導風量可用下式進行計算: Qx/Q=X/0.37
注:式中Qx射程x處射流誘導風量,Qo-誘導風機的風量;
當末端風速為0.5m/8,X=10m時,風量為650m'/h- -臺誘導風機可誘導風量達至17560m3/h
3、應用場合示圖
對地下停車場,可有效地排除汽車排放的一氧化碳及其它污染氣體,節省層高空間,方便其它管道布置,通風換風的效果比傳統的風管通風系統更佳。
體育場館、室內游戲池、展覽中心等高大空間的建筑物,冬季時的熱空氣下送是個難題,通過使用誘導風機,可有效地解決上部熱空氣的下送問題,提高底部溫度,節省能源;夏季使空調氣流組織理想,消除死角,使各部位都能保持舒適的溫度。
對于車間、倉庫、超市可在通道上方安裝誘導風機,有效地組織氣流的流動,不形成死角;并且可以隨著布局的調整,方便地調整誘導風機的布置位置。
注意消防通風時: 1、排煙風機的選用:宜和平時排風機組結合,機房合用。2、排煙風管可按“排煙口距防煙分區內遠點的水平距離不超過30m”的原則布置,風管管徑可按規范規定的風速來確定。

主站蜘蛛池模板: 灵寿县| 汉沽区| 二手房| 云霄县| 梓潼县| 大埔区| 湘西| 宁武县| 黑山县| 和政县| 浠水县| 拉孜县| 城固县| 洱源县| 武隆县| 新邵县| 梁平县| 通州市| 邢台县| 昭苏县| 兴隆县| 湟源县| 多伦县| 秭归县| 保定市| 泗水县| 石泉县| 滦南县| 渝中区| 威信县| 肥乡县| 合阳县| 舟曲县| 万州区| 广水市| 龙里县| 泰宁县| 治多县| 肥西县| 富川| 南充市|